斗提机结构及工作原理厂家详细剖析
斗提机介绍
斗式提升机主要由牵引件、滚筒(或链轮)张紧装置、加料和卸料装置、驱动装置和料斗等组成。在牵引件上装置着一连串的小斗(称料斗),随牵引件向上移动,达到顶端后翻转,将物料卸出。料斗常以背部(后壁)固接在牵引带或链条上,双链式斗式提升机有时也以料斗的侧壁固接在链条上。
倾斜斗式提升机为了改变物料升送的高度,适应不同生产情况的需要,料斗槽中部有一可拆段,使提升机可以伸长也可以缩短。支架也是可以伸缩的,用螺钉固定。支架有垂直的和倾斜的,倾斜支架固定在槽体中部。有时为了移动方便,机架装在活动轮子上。
倾斜斗式提升机
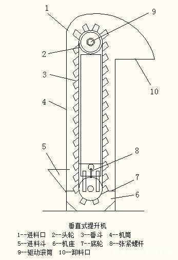
垂直斗式提升机主要由料斗、牵引带(或链)、驱动装置机壳和进、卸料口组成。工作时被输送物料由进料口均匀喂入,在驱动滚筒的带动下,固定在输送带上的料斗刮起物料后随输送带一起上升,当上升至顶部驱动滚简的上方时,料斗始翻转,在离心力或重力的作用下,物料从卸料口卸出,送入下道工序。
垂直式提升机
斗式提升机的主要构件有料斗和牵引件。料斗是提升机的盛料构件,根据运送物料的性质和提升机的结构特点,料斗可分为三种不同的形式,即圆柱形底的深斗、浅斗及尖角形斗。斗式提升机的牵引件可用胶带和链条两种,胶带和带式输送机的相同。料斗用特种头部的螺钉和弹性垫片固接在牵引带上,带宽比料斗的宽度大35~40mm。
垂直式提升机
链条常用套筒链或套筒滚子链。当料斗的宽度较小(160~250mm)时,用一根链条固接在料斗的后壁上;料斗的宽度大时,用两条链条固接在料斗两边的侧板上,即借助于角钢把料斗的侧边和外链板相连。牵引件的选择,取决于提升机的生产率、升送高度和物料的特性。用胶带作牵引件主要用于中小生产能力的工厂及中等提升高度,适合于体积和密度小的粉状、小颗粒等物料的输送。用链条作牵引件则适合于大生产率及升送高度大和较重物料的输送。
河南奥创斗式提升机结构图纸绘画、价格计算、厂家真机图片展示,及到厂实地考察接待,欢迎实地考察!
订购网址请登录河南奥创机械有限公司官方网站:www.gpzds.com 24小时服务热线:13353676726


